| Allt Nytt | Kalender | Racerbanor | Arrangörer | Forum | Varvtider/Loggar |

![]() |
Skruva banåkabil
Konstruktions-hjälp att vrida en trumma 45 grader......Sökes
|
2294 besök totalt |
|
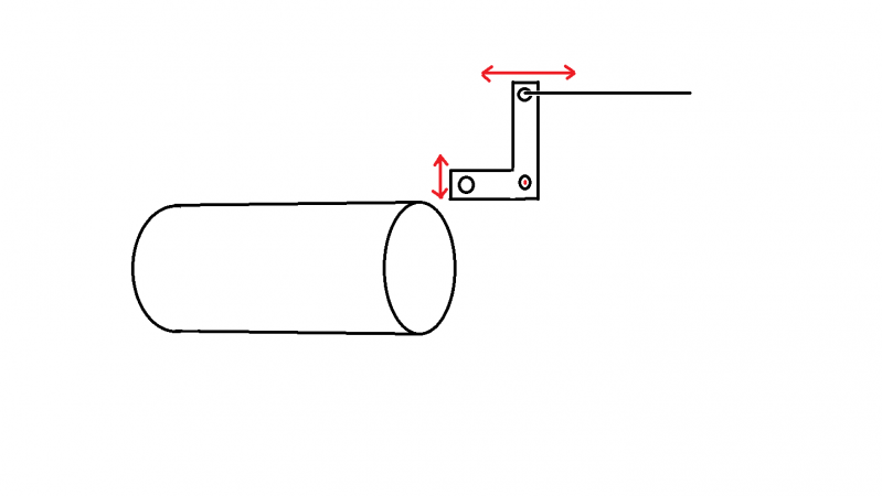
Konstruktions-hjälp att vrida en trumma 45 grader......Sökes
Nu ska vi se om någon förstår mina luddiga förklaringar....och principskiss...
Staget längst upp till höger påverkar en länk, så som pilarna visar. Länken ska vrida trumman 45 grader...och sedan gå tillbaka till ursprungsläget. Påverkar man staget igen...så ska det vrida yttligare 45 grader....osv. Trumman ska kunna vrida sig åt båda håll....beroende på vilket håll staget drar eller skjuter åt... Trumman är ca 50 mm i diameter....och naturligtvis lagrad i båda ändar. Hur ser den mekanismen ut ? Eller finns det något färdigt att "stjäla".
_________________ Håkan Carlsson 070-57 323 57 Bil: BMW e36R TimeAttack https://rejsa.nu/forum/viewtopic.php?t=49630&postdays=0&postorder=asc&start=462 |
|
Spakställ?
Det finns rätt mycket bilder på vertical gate-spakar och liknande som konverterar H-mönster till framåt/bakåt-mönster. Det kan alltid vara en början. |
|
_________________ "Full fart; spar tid." /Igino Cazzola Blandar italienskt, tyskt och engelskt i en härlig gröt. |
|
Ja....precis.
Frågan skulle väl ha ställts så att.... "Är det någon som kan rita upp en ?" eller "Någon som känner till något som går att använda ?" Kanske någon motorcykel som har en lös växelklocka...?? Jag behöver sju lägen...eller åtminstone sex. _________________ Håkan Carlsson 070-57 323 57 Bil: BMW e36R TimeAttack https://rejsa.nu/forum/viewtopic.php?t=49630&postdays=0&postorder=asc&start=462 |
|
_________________ Håkan Carlsson 070-57 323 57 Bil: BMW e36R TimeAttack https://rejsa.nu/forum/viewtopic.php?t=49630&postdays=0&postorder=asc&start=462 |
![]() |
Skruva banåkabil
Konstruktions-hjälp att vrida en trumma 45 grader......Sökes
|
2294 besök totalt |

