| Allt Nytt | Kalender | Racerbanor | Arrangörer | Forum | Varvtider/Loggar |

![]() |
Skruva banåkabil
Tändkabelanslutning Valeo wasted spark, var hittar jag det?
|
1298 besök totalt |
|
Tändkabelanslutning Valeo wasted spark, var hittar jag det?
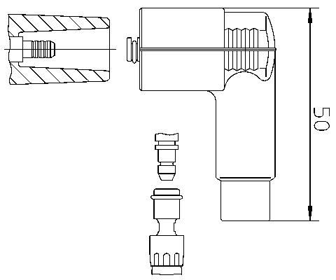
Letar som en tok efter de anslutningar som jag kan använda till mina MSD kablar och ansluter till Valeo wasted spark spolen. Cirka 4 mm pinne i centrum. Jag har kollat om det är 4 mm gänga och om den mutter som sitter på tändstift passar, men nej. Har varit hos bilfirmor som konsulterat både bil och marin på Hansen racing. no luck, no go! Färdiga kablar typ Magnecor finns men jag vill inte köpa och modifiera. Bilden är tagen på en Radical Hayabusa V8 som har dubbla Valeo spolar. En per sida/cylinderbank. Snälla, om någon har något tips?
_________________ Fredrik Reichel |
|
Tack Patrik!
Fantastisk snabb kundservice, skickade dessa bilder till dem och fick svar på en timme. Dock var det inget de kunde hjälpa mig med. Fundera på att köra ut på en skrot och kannibalisera och kanske lösa det på det viset. _________________ Fredrik Reichel |
|
Tack Johan, visste inte att man kunde beställa kablar av Magnecor.
Men nu har jag ju en uppsjö av kablar och vill bara avsluta med rätt ändanslutning. Får leta efter en Magnecor leverantör och fråga om de säljer ändarna som på min bild. De är ju just Magnecor. _________________ Fredrik Reichel |
![]() |
Skruva banåkabil
Tändkabelanslutning Valeo wasted spark, var hittar jag det?
|
1298 besök totalt |

